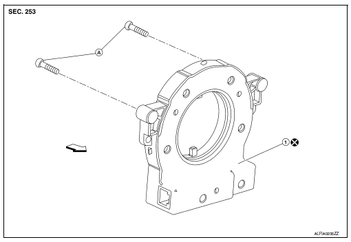
Exploded View

Steering angle sensor
Screw
Front
Removal and Installation
REMOVAL
Remove spiral cable assembly. Refer to SR-16, "Removal and Installation".
Remove the two screws and the steering angle sensor from spiral cable.
INSTALLATION
Installation is in the reverse order of removal.
CAUTION:
Do not reuse steering angle sensor.
Perform the neutral position adjustment of the steering angle sensor. Refer to BRC-54, "Work Procedure".
VDC off switch
SteeringPrecaution for Supplemental Restraint System (SRS) "AIR BAG" and "SEAT BELT
PRE-TENSIONER"
The Supplemental Restraint System such as “AIR BAG” and “SEAT BELT PRE-TENSIONER”,
used along
with a front seat belt, helps to reduce the risk or severity of injury to the
driver and front passenger for certain
types of collision. Information necessary to service the system ...
Basic inspection
DIAGNOSIS AND REPAIR WORK FLOW
Work Flow
NOTE:
“DTC” includes DTC at the 1st trip.
1.OBTAIN INFORMATION ABOUT SYMPTOM
Refer to TM-140, "Diagnostic Work Sheet" and interview the customer to obtain
the malfunction information
(conditions and environment when the malfunctio ...
General Precaution
WARNING:
When replacing fuel line parts, be sure to observe the following.
Put a “CAUTION: FLAMMABLE” sign in the work area.
Be sure to work in a well ventilated area and have a CO2 fire
extinguisher.
Do not smoke while working on the fuel system. Keep open flames
and sparks ...