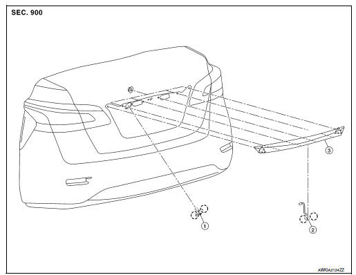
Exploded view

Clip
Pawl
Removal and installation

License lamp finisher

Release clips of license lamp finisher from inside of trunk lid, and then remove.
: Clip

INSTALLATION
Installation is in the reverse order of removal.
CAUTION:
When installing license lamp finisher, check that clips are placed in body panel holes, then press them in.
Door parting seal
Rear air spoilerPrecaution for Supplemental Restraint System (SRS)
"AIR BAG" and "SEAT BELT PRE-TENSIONER"
The Supplemental Restraint System such as “AIR BAG” and “SEAT BELT PRE-TENSIONER”,
used along
with a front seat belt, helps to reduce the risk or severity of injury to the
driver and front passenger for certain
types of collision. Information necessary to service the system ...
When traveling or registering your vehicle in another country
When planning to drive your NISSAN vehicle
in another country, you should first find
out if the fuel available is suitable for your vehicle’s
engine.
Using fuel with an octane rating that is too low
may cause engine damage. All gasoline vehicles
must be operated with unleaded gasoline. The ...
Brake pedal
Adjustment
BRAKE PEDAL HEIGHT
Remove instrument lower panel LH. Refer to IP-21, "Removal and
Installation".
Disconnect the harness connectors from the brake pedal position switch
(if equipped) and the stop lamp
switch.
Turn the stop lamp switch and brake pedal position swi ...